zadna naprava caravan/hatchback

Odpovědět
Uživatelský avatar
filipek013
Příspěvky: 315
Registrován: 14 črc 2011, 08:01
Bydliště: Šúrovce

zadna naprava caravan/hatchback

Příspěvek od filipek013 »

Ahojte,
zadna naprava na H caravane je rovnaka ako 5dv hatchbacku, resp inych verziach?

pravdepodobne budem musiet menit zadnu napravu (po buracke), tak zhanam infos...
Zafira 1,9 cdti, 88kW (chip 110kW), OPC line
Astra Caravan Cosmo Sport 1,9 CDTI, 110 kW, 2007 [/b] - ex
Reklama
 

Stan.
Příspěvky: 1519
Registrován: 16 pro 2010, 18:58
Bydliště: Jižní Čechy

Re: zadna naprava caravan/hatchback

Příspěvek od Stan. »

http://ecat24.com/opel/catalog/part/1/9 ... 1189,1187/
1 93178619 5402215 NOSNÍK,ZADNÍ NÁPRAVA (BUBEN,ZADNÍ BRZDA) 1
1 93178619 5402215 NOSNÍK,ZADNÍ NÁPRAVA (BUBEN,ZADNÍ BRZDA) 1
1 93178619 5402215 NOSNÍK,ZADNÍ NÁPRAVA (BUBEN,ZADNÍ BRZDA) 1
1 93182197 5402220 NOSNÍK,ZADNÍ NÁPRAVA (DISK,ZADNÍ BRZDA) (UŽÍVAL SE SPORTOVNÍM BALÍČKEM PODVOZKU) 1
1 93179355 5402217 NOSNÍK,ZADNÍ NÁPRAVA (NEUŽÍVAL SE SPORTOVNÍM BALÍČKEM PODVOZKU) 1
1 93178620 5402216 NOSNÍK,ZADNÍ NÁPRAVA (UŽÍVAL SE SPORTOVNÍM BALÍČKEM PODVOZKU) 1
1 93178620 5402216 NOSNÍK,ZADNÍ NÁPRAVA (NEUŽÍVAL SE SPORTOVNÍM BALÍČKEM PODVOZKU) 1
1 93182200 5402221 NOSNÍK,ZADNÍ NÁPRAVA (IDENTIFIKACE YU) (UŽÍVAL SE SPORTOVNÍM BALÍČKEM PODVOZKU) 1
1 93182200 5402221 NOSNÍK,ZADNÍ NÁPRAVA (IDENTIFIKACE YU) (UŽÍVAL SE SPORTOVNÍM BALÍČKEM PODVOZKU)Z20LER[LU2] 1
1 93186038 5402230 NOSNÍK,ZADNÍ NÁPRAVA (IDENTIFIKACE ZA)Z20LEH[LPI] 1
1 93178619 5402215 NOSNÍK,ZADNÍ NÁPRAVA (BUBEN,ZADNÍ BRZDA)

Rozdělení dle motorizace - katalogová čísla jsou stejná pro L08-3DV, L48-5DV, L35-CARAVAN, L70-DODÁVKA
1) 93179355 5402217 Nepoužívá se pro sportovní podvozek Z16LET,A16LET,Z18XE,Z18XER,A18XER,Z22YH
1) 93178620 5402216 Používá se pro sportovní podvozek Z16LET,A16LET,Z18XE,Z18XER,A18XER,Z22YH
1) 93178620 5402216 Nepoužívá se pro sportovní podvozek Z20LEL,Z17DTH,Z(A)17DTJ,Z(A)17DTR,Z19DTL,Z19DT,Z19DTJ,Z19DTH
1) 93182200 5402221 Používá se pro sport. podvoz. Ident YU Z20LEL,Z17DTH,Z(A)17DTJ,Z(A)17DTR,Z19DTL,Z19DT,Z19DTJ,Z19DTH
1) 93178619 5402215 Nepoužívá se pro sportovní podvozek (katalogové číslo stejné pro buben i kotouč) Z16XEP,Z16XE1,Z(A)16XER
1) 93182197 5402220 Používá se pro sportovní podvozek Z16XEP,Z16XE1,Z(A)16XER
Astra H Z16XEP HB 10/2006 / Astra F X16SZ HB 5/1993
Uživatelský avatar
silver
Příspěvky: 1428
Registrován: 06 pro 2010, 22:53
Bydliště: Topolcany
Kontaktovat uživatele:

Re: zadna naprava caravan/hatchback

Příspěvek od silver »

Ked to tu trosku ozivim, moze mi niekto napisat ci je niekde ident 'YU' vyrazeny na zadnej naprave?,podla vinka mam sport podvozok plus pruziny,pravdepodobne ma caka vymena,aspon podla kolies to vyzera na napravu,ked sa pozriem na kolesa zozadu tak koleso sa prednou castou schovava pod blatnik,ide skriza dovnutra,vsimol som si to potom co som trafil touto pravou castou zadnou betonovy obrubnik,lozisko bolo v tej sekunde rosypane na prach,vymenene,ale az ked som nahodil 15mm podlozky tak evidentne prava strana je utopena v blatniku oproti lavej.a bola to teda riadna supa az mi zuby cvakli :? :?
Moja otazka znie:moze byt ohnuta naprava,alebo nieco ine? Viem ze blbo sa radi nadialku,ale uz mi bolo povedane ze to bude tlmic ale ini sa zhoduju ze naprava.
Daa sa na geometrii dopasovat zad.naprava ? Len neviem ci tam mam ist nech to pozru ci to pomoze vobec, alebo rovno kupit napravu ach jo :cry:
Aby som zbytocne nebehal a neplatil atd.,nema niekto podobnu skusenost?

@stan
Podla ecatu co si vyhodil ked mam ident yu ktory je rovnaky pre 1.7 aj 1.9 ,je nejaka sanca ze v pripade nutnej vymeny napravy sa bude dat pouzit "obycajna naprava bez sport balicka? Ci tam asi ulozenie na kasnu nebude pasovat?

dakujem za pripadne vysvetlenie popripade radu ,alebo len poznamku co si otom myslite .
Naposledy upravil(a) silver dne 23 dub 2018, 17:21, celkem upraveno 1 x.
ASTRA H estate Z17DTH 74kw,COSMO
EX Astra H estate 08 1.9cdti 74kw ,vybava Catch me now ,Henrieta silver&black edition
EX ceed 1.4 Ex 2007
Uživatelský avatar
Wirda
Příspěvky: 181
Registrován: 28 bře 2016, 12:41
Bydliště: Černovice u Tábora

Re: zadna naprava caravan/hatchback

Příspěvek od Wirda »

Můj odhad. Náprava je stejná, liší se pouze pružiny a tlumiče. Pokud máš sport, měl by si mít IDS+ tlumiče a tlačítko sport na palubovce. Není mi uplně jasný, jak by jsi mohl ohnout nápravu. Je to kus železa. Dřív než by se tak stalo, zničíš kolo, pak ložisko, jak se tedy asi stalo a pak by to musela být jo šupa, aby se hnula. Má možnost pohybu nahoru a taky v silentech se máčkne. Ovšem možné to je. Někdy asi stačí málo na to správné místo a už to lítá. Zadní náprava je pevná a má danou sbíhavost, takže trochu ty kola míří dovnitř. Nejjednodušší pomoc je vzít kámoše, kus provazku, jet a zastavit co nejpřesneji rovně a pak s kámošem natáhni provázek přes přední a zadní kola. Ukáže ti to jak moc který kolo je "hnutý" V ideálním případě, budou mezerky všude stejné. Pokud ne, volil bych cestu servisu s geometrií a ptal se, zda maji stolici, a dokážou nápravu narovnat. Ovšem v tom případě, že cena nápravy z bouračky nebude levnější. To si ale nemyslím. Náprava je dole za půl hodinky a pokud je to ne čem srovnat, tak to dokážou.
Astra H Caravan sport Z18XE IDS+
Uživatelský avatar
silver
Příspěvky: 1428
Registrován: 06 pro 2010, 22:53
Bydliště: Topolcany
Kontaktovat uživatele:

Re: zadna naprava caravan/hatchback

Příspěvek od silver »

Diky za odpoved,ako som pisal ,tak betonovy obrubnik som trafil v smyku asi v 40kmh, a na oko je viditelny rozdiel medzi lavou a pravou stranou ci su podlozky nahodene alebo nie,takze neviem ci 40kmh odpoveda velkej supe,ale disk je rozstiepeny vyhnuty,lozisko ako bolo spominane bolo mrtve hned.,preto typujem napravu

A sport mam fabricke ,aj naprava sport +pruziny znizene fabricky taktiez podla vinka..bez ids
ASTRA H estate Z17DTH 74kw,COSMO
EX Astra H estate 08 1.9cdti 74kw ,vybava Catch me now ,Henrieta silver&black edition
EX ceed 1.4 Ex 2007
Uživatelský avatar
Wirda
Příspěvky: 181
Registrován: 28 bře 2016, 12:41
Bydliště: Černovice u Tábora

Re: zadna naprava caravan/hatchback

Příspěvek od Wirda »

40km/h už šupa je no. Tak zavolej do servisu s geometrií a informuje se. Oni ti poradí, zda opravit, nebo vyměnit. A jaká bude cesta nejmenšího odporu ;)
Astra H Caravan sport Z18XE IDS+
Uživatelský avatar
mironto
Příspěvky: 927
Registrován: 08 lis 2013, 10:28

Re: zadna naprava caravan/hatchback

Příspěvek od mironto »

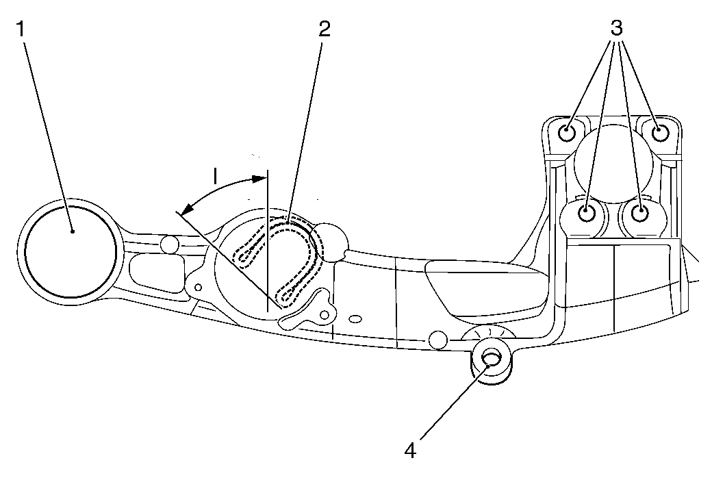
Ak je to podobne, ako pri Zafire, tak rozdiel medzi standardnou a sportovou napravou je v uhle navarenia torznej tyce (parameter I na obrazku).
rear_axle.png
Uživatelský avatar
silver
Příspěvky: 1428
Registrován: 06 pro 2010, 22:53
Bydliště: Topolcany
Kontaktovat uživatele:

Re: zadna naprava caravan/hatchback

Příspěvek od silver »

Fuuu tak natoto ti ja neodpoviem, a na tom obrazku je jaka ?
ASTRA H estate Z17DTH 74kw,COSMO
EX Astra H estate 08 1.9cdti 74kw ,vybava Catch me now ,Henrieta silver&black edition
EX ceed 1.4 Ex 2007
Odpovědět